Aug . 2023
Протокол ANT+ — это технология беспроводной передачи с низким энергопотреблением, которая в основном используется для передачи данных между фитнес-устройствами, спортивными датчиками и интеллектуальными устройствами. Он работает на частоте 2,4 ГГц и обеспечивает низкое энергопотребление, низкую задержку и высокую надежность. Широкие возможности протокола ANT+ в фитнес-индустрии, такие как мониторинг сердечного ритма, подсчет шагов и отслеживание движений. Поэтому для компактных спортивных устройств модули ANT+ должны не только учитывать энергопотребление, но и фокусироваться на миниатюрной конструкции модуля. Небольшая конструкция модуля облегчает интеграцию и помогает уменьшить общий объем и вес устройств. Кроме того, существует потребность в индивидуальных модульных решениях для конкретных сценариев применения.

Модуль RF51422 представляет собой модуль беспроводного приемопередатчика ANT+ с интерфейсом UART, оснащенный высокопроизводительной микросхемой System-on-Chip (SOC) и встроенным стеком протоколов ANT+. Клиенты могут устанавливать связь между устройствами ANT+ напрямую с помощью стандартных команд UART, что делает его пригодным для разработки продуктов, совместимых со стандартным протоколом ANT+. Этот модуль совместим с большинством устройств с протоколом ANT+, доступных на рынке. Модуль RF51422 производится и тестируется с использованием бессвинцовой технологии в соответствии со стандартами RoHS и Reach.

Модуль RF51422 имеет следующие встроенные профили ANT+:
Эти встроенные профили ANT+ позволяют модулю RF51422 поддерживать широкий спектр приложений и обеспечивать бесперебойное подключение и передачу данных для различных ANT+-совместимых устройств.
Параметры производительности RF51422 следующие:
Параметр | Мин | ТП | Макс | Единица | Состояние |
Условия эксплуатации | |||||
Напряжение питания | 1,8 | 3.3 | 3.6 | В |
|
Диапазон рабочих температур | -40 | 25 | 85 | ℃ |
|
Текущее потребление | |||||
Ток эмиссии |
| 6,8 | 8 | мА | @3,3 В |
Получить текущий |
| 2.9 |
| мА | @3,3 В |
Ток сна |
| 0,26 |
| мА |
|
После включения модуля он автоматически откроет канал сканирования устройства ANT+ и выведет сообщение о запуске через последовательный порт. В это время, если есть устройства ANT+, передающие данные, последовательный порт будет непрерывно выводить полученные данные. Если вам не нужен этот канал сканирования, вы можете закрыть его с помощью специальных команд. Модуль имеет три режима работы: нормальный режим, спящий режим и режим обновления прошивки. Еще одной особенностью этого модуля является его небольшой размер.
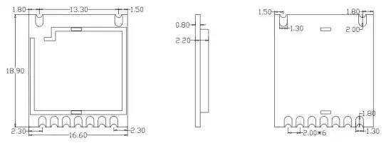
Механические размеры модуля (единица измерения: мм, допуск: ±0,01 мм)

В интерфейсном модуле протокола ANT+ модуль RF51422 не только отвечает требованиям по низкому энергопотреблению и небольшому размеру, но также предлагает индивидуальные решения, адаптированные к конкретным потребностям. От размеров, функций до производительности, от проектирования, разработки до тестирования, NiceRF фокусируется на создании индивидуальных решений, обеспечивающих качество и производительность индивидуальных модулей.
+86-755-23080616
sales@nicerf.com
Сайт: https://www.nicerf.com/ .
Адрес: 309-314, 3/F, корпус A, деловое здание Хунду, зона 43, район Баоань, Шэньчжэнь, Китай
политика конфиденциальности
· Политика конфиденциальности
В настоящее время нет доступного контента
Электронная почта: sales@nicerf.com
Тел:+86-755-23080616