Тип: Беспроводное аудио
Сертификация: Другие
Выходная мощность: 160мВт
Размер (мм):48,1*33,9
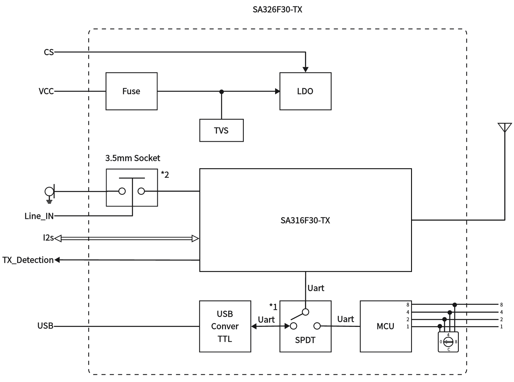
NiceRF выпустила новый беспроводной аудиомодуль SA326 с малой задержкой, большой дальностью, высокой частотой дискретизации и высокой точностью. Продукты серии SA326 делятся на модуль передатчика SA326-TX и модуль приемника SA326-RX. Этот продукт представляет собой прикладную плату для модулей SA316-TX и SA316-RX. Он может работать после включения питания. Вы также можете напрямую установить частоту модуля с помощью программного обеспечения для ПК. Размер звука и другие параметры значительно упрощают задачу пользователя по разработке, этот продукт широко используется в случаях с относительно высокими требованиями к качеству звука.
Параметр | Условия испытания | Мин . | Тип . | Макс . | Единица |
Диапазон рабочего напряжения | 3.3 | 4.2 | 5 | В | |
Диапазон рабочих температур | -20 | 25 | 60 | ℃ | |
Диапазон рабочих частот | @УВЧ | 500 | 980 | МГц | |
@УКВ | 160 | 270 | МГц | ||
Задержка передачи и приема звука | 4 | РС | |||
Скорость передачи данных последовательного порта | 9600 | б/с | |||
Потребление тока | |||||
Ток сна ( SA326-RX) | < 45 | uA | |||
Ток сна ( SA326F30-TX ) | < 20 | uA | |||
Приемный ток ( SA326-RX) | @VCC= 4,2 В | < 1 40 | мА | ||
Ток передачи ( SA326-TX ) | @ Не передает | < 75 | мА | ||
@ Во время передачи | <1 20 | мА | |||
Ток эмиссии ( SA326F30-TX ) | @Не передает,5v | < 75 | мА | ||
@ Во время передачи , 5 В 30 дБм | < 700 | мА | |||
Параметр передачи | |||||
Мощность передачи | @VCC= 4,2 В | 9 | 1 0 | 11 | дБм |
@VCC= 5,0 В | 29 | 30 | 31 | дБм | |
диапазон мощности передачи | @VCC= 4,2 В | 0 | 10 | дБм | |
@VCC= 5,0 В | 20 | 30 | дБм | ||
Ширина полосы излучения ( BW) | 300 | КГц | |||
Коэффициент мощности соседнего канала ( ACPR ) | @600КГц | -6 0 | дБ с | ||
Максимальное входное напряжение микрофона | 0. 3 | 1. 5 | Vrms | ||
Диапазон частотной характеристики звука | 30 | 20к | Гц | ||
Параметры получения | |||||
Чувствительность приема | - 96 | дБм | |||
Амплитуда выходного аудиосигнала (дифференциальная) | 400 | м В среднеквадратичное значение | |||
Сопротивление выходного аудиосигнала | 600 | Ом | |||
LOUT+,ROUT+ Управляющий резистор | 16-32 | Ом | |||
SPKP,SPKN Управляющий резистор | 4-8 | Ом | |||
Соотношение сигнал/шум (SNR) | @1КГц , | 86 | дБ | ||
Коэффициент гармонических искажений (THD) | @48K Частота выборки | 0,07 | % | ||
SA326F30-TX

SA326-RX

SA326F30-TX

Номер контакта . | Имя пин-кода | Ввод/вывод | Уровень стандартный | Описание |
1,2,8,12,18 | Земля | 0 | Подключите отрицательный полюс источника питания. | |
3 | NC | |||
4 | 1 | я | 0-3,3 В | Частота 16 каналов, кодировка 8421, первая цифра, выход по умолчанию "1" |
5 | 2 | я | 0-3,3 В | Частота 16-канальная 8421 кодировка, второй бит, выход по умолчанию "1" |
6 | 4 | я | 0-3,3 В | Частота 16 каналов 8421 кодировка, 4 -й бит, по умолчанию "1" выход |
7 | 8 | я | 0-3,3 В | Частота 16 каналов 8421 кодировка, 8 -й бит, по умолчанию "1" выход |
9 | GPIO4 | Я/0 | 0-3,3 В | GPIO4 с внутренним аудиочипом |
10 | GPIO3 | Ввод/вывод | 0-3,3 В | Подключитесь к GPIO3 SA316 F30 -TX, его можно настроить как SDIN при использовании режима I2S |
11 | ВКЦ | 3,3-5В | Положительный полюс внешнего источника питания. (Типичное значение 4 В) | |
13 | КС | я | 0-5В | Внутренне подключен к EN LDO, понижение спящего режима, внутренняя подтяжка, выход по умолчанию "1" |
14 | TX_DE | О | 0-3,3 В | Индикатор передачи имеет высокий уровень при передаче и низкий уровень при отсутствии передачи. |
15 | GPIO1 | Ввод/вывод | 0-3,3 В | Внутренне подключен к GPIO1 SA326F30-TX , при использовании режима I2S может быть настроен как SCK |
16 | GPIO0 | Ввод/вывод | 0-3,3 В | Внутренне подключен к GPIO0 SA326F30-TX , при использовании режима I2S может быть настроен как LRCK |
17 | GPIO2 | Ввод/вывод | 0-3,3 В | Внутренне подключен к GPIO2 SA326F30-TX , при использовании режима I2S его можно настроить как MCLK |
19 | MIC_N | я | Отрицательный вход микрофона , его можно подключить к отрицательному полюсу микрофона или заземлить. | |
20 | MIC_P | я | Положительный вход микрофона (наилучший сигнал менее 300 мВ (среднеквадратичное значение) |
SA326-RX

| Номер контакта | Имя пин-кода | Ввод/вывод | Уровень стандарта | Описание |
| 1 | 1 | я | 0-3,3 В | Частота 16 каналов, кодировка 8421, первая цифра, выход по умолчанию "1" |
| 2 | 2 | я | 0-3,3 В | Частота 16-канальная 8421 кодировка, второй бит, выход по умолчанию "1" |
| 3 | 4 | я | 0-3,3 В | Частота 16 каналов 8421 кодировка, 4-й бит, выход по умолчанию "1" |
| 4 | 8 | я | 0-3,3 В | Частота 16 каналов 8421 кодировка, 8-й бит, по умолчанию "1" выход |
| 5 | GPIO4 | Ввод/вывод | 0-3,3 В | Подключитесь к GPIO4 SA316-RX |
| 6 | GPIO3 | Ввод/вывод | 0-3,3 В | Внутренне подключен к GPIO3 SA316-RX, может быть настроен как MCLK при использовании режима I2S |
| 7 | GPIO2 | Ввод/вывод | 0-3,3 В | Внутренне подключен к GPIO2 SA316-RX, при использовании режима I2S может быть настроен как SDIO |
| 8 | КС | Ввод/вывод | 0-3,3 В | Внутренне подключен к EN LDO, понижение спящего режима, внутренняя подтяжка, выход по умолчанию "1" |
| 9 | Земля | я | 0 | Подключите отрицательный полюс источника питания. |
| 10 | ВКЦ | я | 3.3-6В | Положительный полюс внешнего источника питания. (Типичное значение 4 В) |
| 11 | GPIO1 | Ввод/вывод | 0-3,3 В | Внутренне подключен к GPIO1 SA316-RX, при использовании режима I2S может быть настроен как SCK |
| 12 | GPIO0 | Ввод/вывод | 0-3,3 В | Внутренне подключен к GPIO0 SA316-RX, при использовании режима I2S может быть настроен как LRCK |
| 13 | Земля | я | 0 | Подключите отрицательный полюс источника питания. |
| 14 | LOUL LOUT+ | О | Подключитесь к LOUT+ SA316-RX, который может напрямую управлять наушниками | |
| 15 | Земля | я | 0 | Подключите отрицательный полюс источника питания. |
| 16 | МАРШРУТ+ | О | Подключитесь к ROUT+ SA316-RX, который может напрямую управлять наушниками | |
| 17 | Земля | я | 0 | Подключите отрицательный полюс источника питания. |
| 18 | VOL-ADJ | я | 3.33.3.3В | Штифт регулировки громкости, модуль подключен к регулируемому потенциометру 50 кОм, также можно подключить внешний потенциометр |
| 19 | СПКН | О | Выходной контакт усилителя мощности, внешний динамик 4 Ом или 8 Ом 2 Вт | |
| 20 | СПКП | О | Выходной контакт усилителя мощности, внешний динамик 4 Ом или 8 Ом 2 Вт |
SA326F30-TX

SA326-RX

политика конфиденциальности
· Политика конфиденциальности
В настоящее время нет доступного контента
Электронная почта: sales@nicerf.com
Тел:+86-755-23080616