Выходная мощность: 1мВт
Размер (мм):13,5*22,2
UWB3000F00-X1 использует микросхему серии DW3000 компании Qorvo — полностью интегрированный однокристальный сверхширокополосный (UWB) маломощный и недорогой приёмопередатчик, соответствующий стандарту IEEE 802.15.4-2020. Он может использоваться в системах двусторонней дальномерности и TDoA, обеспечивая точность позиционирования до 10 сантиметров.
Параметр | Состояние | Мин. | Тип. | Макс. | Единица |
Напряжение питания | 2.4 | 3.3 | 3.6 | В | |
Диапазон рабочих температур | - 40 | 25 | 85 | ℃ | |
Диапазон частот | CH5 | 6489.6 | МГц | ||
CH9 | 7987.2 | МГц | |||
Скорость передачи данных | 850 тыс. | 6,8 млн | бит/с | ||
Текущее потребление | |||||
ток сна | <1 | у А | |||
Непрерывный ток приема | 72 | мА | |||
Непрерывный ток передачи (пакет данных) | 67 | м А | |||
Диапазон тока | Средний ток | 21 | мА | ||
Пиковый ток | 72 | мА | |||
параметр RF r | |||||
Мощность передачи | @VCC= 3,3 В | -30 | 0 | дБм | |
Пропускная способность передачи ( BW) | 499.2 | МГц | |||
Параметры получения | |||||
Чувствительность рецепта | @850Кбит/с | - 100 | дБм | ||
@6.8Mbps | -94 | дБм | |||
Поддерживает каналы CH5 и CH9 (6489,6 МГц и 7987,2 МГц)
Скорость передачи данных 850 Кбит/с и 6,8 Мбит/с
Длина пакета до 1023 байт
Поддерживает двустороннюю дальность и схемы позиционирования TDoA
Программируемая мощность передачи
Местоположение активов с точностью до 10 см
Позиционирование персонала в крупном промышленном производстве
Различные сценарии позиционирования внутри помещений
Размещение подземных угольных шахт
Расстановка персонала больницы


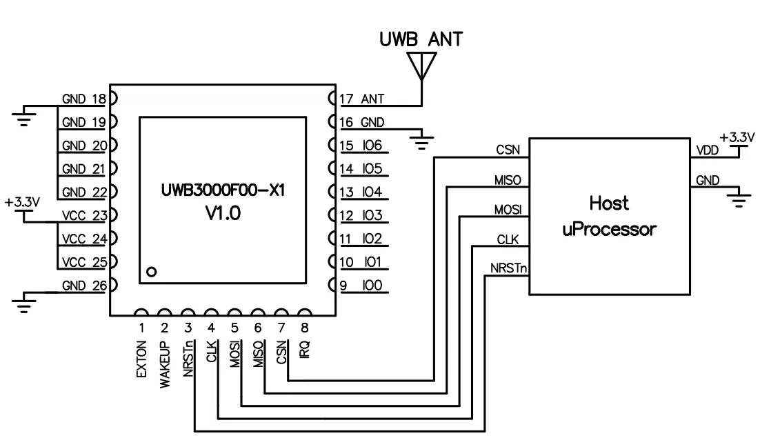
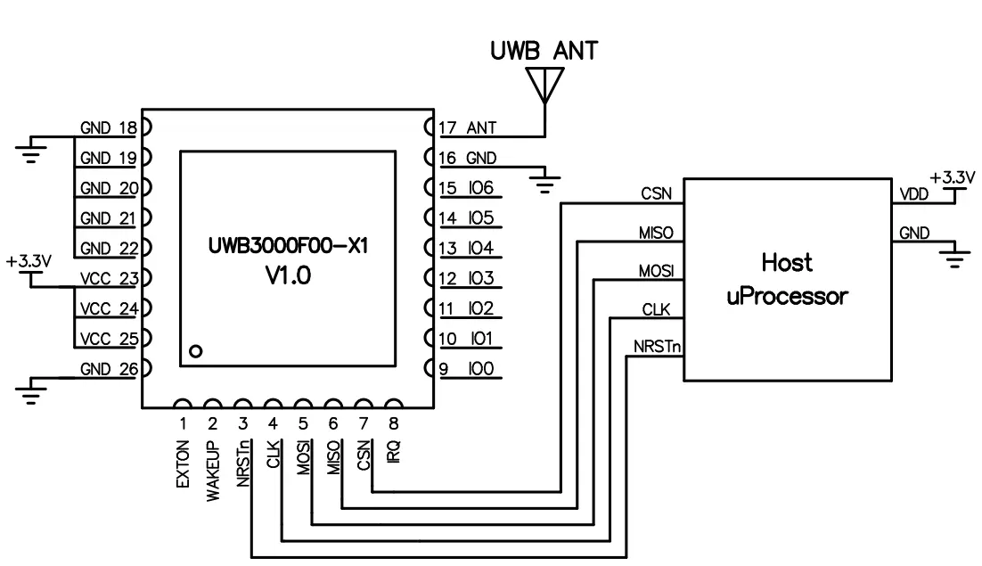
Номер контакта | Определение пин-кода | Ввод/вывод | Описание |
1 | ЭКСТОН | ДЕЛАТЬ | Разрешение внешнего устройства. Активируется при пробуждении и остаётся активным до перехода устройства в спящий режим. Может использоваться для управления внешним DC/DC-преобразователем или другими цепями, которые не используются, пока устройство находится в спящем режиме, для минимизации энергопотребления. Подробнее см. в техническом описании DW3000. |
2 | ПРОСНУТЬСЯ | ДИ | При установке на контакт WAKEUP допустимого высокого уровня DW3000 выходит из спящего режима или режима DEEPSLEEP и переходит в активный режим. Если этот контакт не используется, его можно заземлить. |
3 | NRSTn | ДИО | Вывод сброса. Выход с активным низким уровнем. Может быть потянут на низкий уровень внешним драйвером с открытым стоком для сброса устройства. |
4 | КЛК | ДИ | SPI-часы |
5 | МОСИ | ДИ | Ввод данных SPI |
6 | МИСО | ДЕЛАТЬ | Вывод данных SPI |
7 | CSN | ДИ | Выбор микросхемы SPI. Это вход разрешения с активным низким уровнем. Падающий фронт на SPICSn сигнализирует о начале новой транзакции SPI. SPICSn также может служить сигналом пробуждения для вывода DW3000 из спящего режима или режима DEEPSLEEP. |
8 | IRQ | ДИ | Выход запроса прерывания от DWM3000 к хост-процессору. По умолчанию IRQ имеет активный высокий уровень, но при необходимости его можно настроить на активный низкий уровень. Для корректной работы в режимах SLEEP и DEEPSLEEP его следует настроить на активный высокий уровень. Этот вывод не имеет уровня в состояниях SLEEP и DEEPSLEEP и может вызывать ложные прерывания, если не перевести его в режим низкого уровня. Если функция IRQ не используется, этот вывод можно перенастроить как порт ввода-вывода общего назначения (GPIO8). |
9 | GPIO0 | ДИО | Контакты ввода-вывода общего назначения — подробности см. в техническом описании микросхемы. |
10 | GPIO1 | ДИО | Универсальный вывод ввода-вывода, подробную информацию см. в техническом описании микросхемы . |
11 | GPIO2 | ДИО | Универсальный вывод ввода-вывода, подробности см. в техническом описании микросхемы. |
12 | GPIO3 | ДИО | Универсальный вывод ввода-вывода, подробности см. в техническом описании микросхемы. |
13 | GPIO4 | ДИО | Универсальный вывод ввода-вывода, подробности см. в техническом описании микросхемы. |
14 | GPIO5 | ДИО | Универсальный вывод ввода-вывода, подробности см. в техническом описании микросхемы. |
15 | GPIO6 | ДИО | Универсальный вывод ввода-вывода, подробности см. в техническом описании микросхемы. |
16,18,19, 20,21,22,26 | Земля | Подключите к заземлению (GND) | |
17 | МУРАВЕЙ | Подключение внешней антенны 50 Ом | |
23,24,25 | ВКЦ | Подключить к положительному полюсу источника питания (2,4–3,6 В) |

политика конфиденциальности
· Политика конфиденциальности
В настоящее время нет доступного контента
Электронная почта: sales@nicerf.com
Тел:+86-755-23080616